摘要:海外抢单刷单系统是一种创新的智能平台,旨在通过高效的用户风险评估与自动订单匹配,提升交易的安全性与便捷性。该系统的关键特征在于其先进的算法,可以实时分析用户的交易行为和信用历史,确保高风险用户被及时识别并妥善处理。优势方面,系统不仅提高了订单处理的速度,还优化了资源配置,使用户能够在全球市场中迅速抓住商机。此外,该系统的独特品质在于其智能化解决方案,使每一笔交易更加精准与高效,从而推动了海外抢单市场的健康发展。
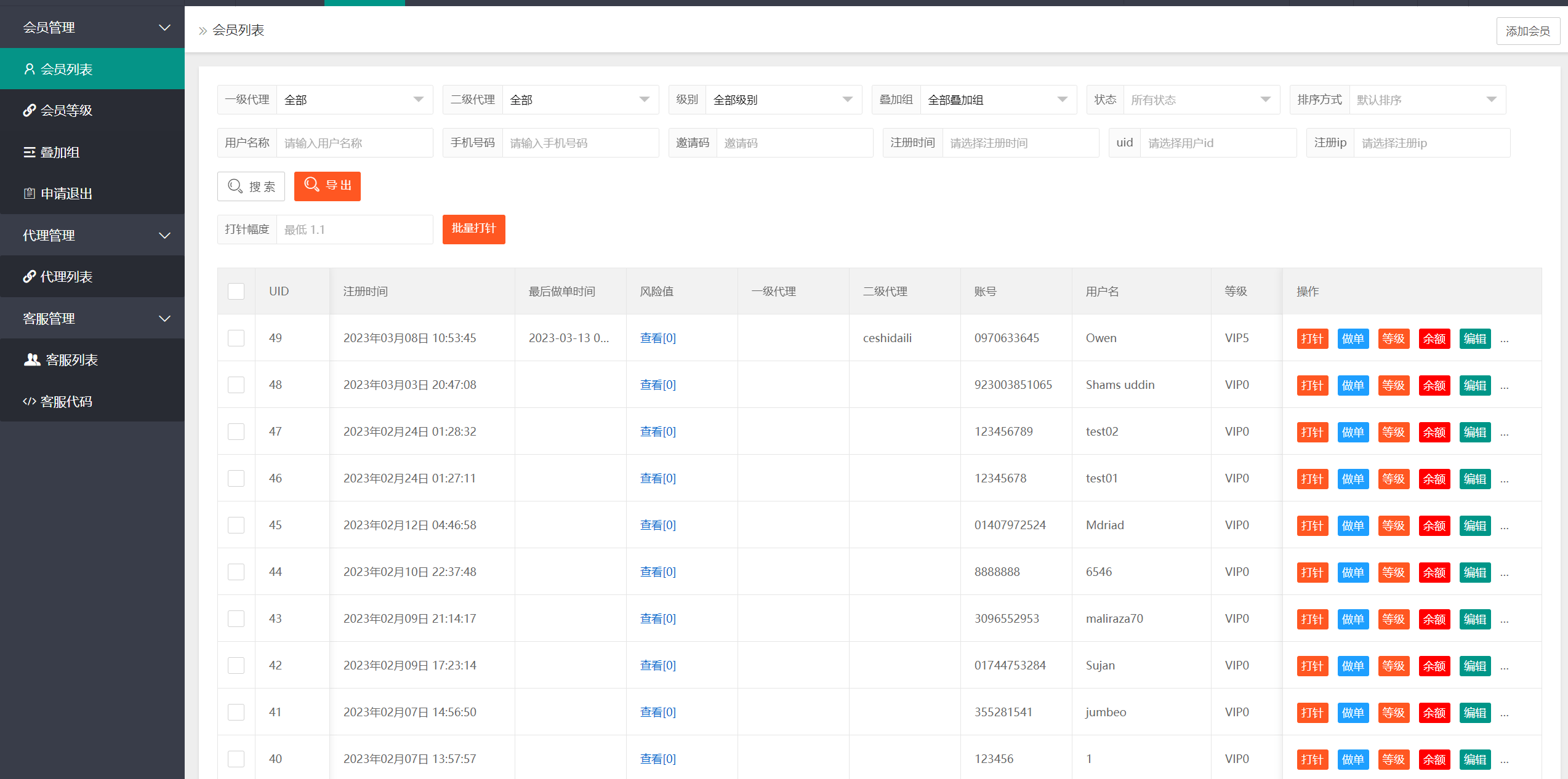
此套别人二开的海外抢单刷单系统,新增用户风险值、最后做单时间
带三级分销,权限代理后台,充值提现优先完美后台查询功能
二开版海外抢单刷单系统全景解析
在当今的电子商务环境中,企业需要快速精准地获取订单。针对这一市场需求,我们研发了二开版海外抢单刷单系统,旨在提升交易效率、降低风险,为用户创造更高的价值。
系统独特之处
我们的系统拥有多项独特功能,使得用户能够接触到全球市场,实现高效、高质量的订单处理。以下是系统的核心特色:
- 用户风险值评估:系统智能分析每个用户的历史交易数据,生成详细的风险值报告,帮助用户及时调整交易策略。
- 叠加组功能:利用大数据分析创建用户的叠加组,优化资源配置,提高抢单成功率。
- 打针技术:通过先进的打针技术,确保订单处理的高效性,极大程度上缩短了用户的响应时间。
- 订单自动匹配系统:系统内置强大的算法,能够实时分析市场订单,将用户的资源与最佳匹配的订单进行自动匹配,提升成交率。
优势解析
该系统的设计从用户体验出发,将便利与安全结合,实现了许多传统交易系统无法达到的优势:
- 实时性高:系统采用云计算技术,无论用户身在何处,都能进行高效操作,确保快速响应市场变化。
- 安全性有保障:通过多重安全机制,确保用户信息的隐私保护,降低交易风险。
- 适应性强:支持多平台操作,用户可以在PC、手机等多种设备上灵活使用,打破了传统交易方式的局限。
- 提升竞争力:系统提供的数据分析和建议,能帮助用户寻找市场机会,进而提升竞争优势。
带来的价值
通过二开版海外抢单刷单系统,用户不仅能够快速适应市场需求,同时还能够提升自己的盈利能力。具体价值体现在以下几个方面:
- 提高订单转化率:系统的多重智能匹配和自动处理,大幅提升用户的订单转化率。
- 增强市场洞察力:通过系统提供的风险值分析与市场预测,用户可以更精准地把握市场趋势,增强决策能力。
- 降低运营成本:高效的订单处理和资源配置,提高了运营效率,降低了不必要的运营成本。
- 增加收益机会:系统能够为用户挖掘到更多潜在的收益机会,助力用户实现长期盈利。
总结
总的来说,二开版海外抢单刷单系统通过先进的技术,保障了用户在复杂的市场环境中的安全与便利。它不仅是单纯的订单处理工具,更是帮助用户实现盈利与成长的强大助手。我们相信,有了这个系统,企业将在国际市场上更具竞争力,迎接更大的成功。
海外抢单刷单系统:智能用户风险评估与自动订单匹配|演示图:
🌍✨ 海外抢单刷单系统震撼来袭! 🚀
🔍 您的专属智能助手,进行全面的用户风险评估,确保安全无忧!
📈 自动匹配优质订单,助您轻松抢单,提升收入!
💡 快来体验高效、智能的抢单新方式,让每一单都为您增值!
立即加入,开启您的盈利之旅!💰✨




















